居家隔离的小张取下刚刚测完体温的温度计,用手机拍了一下温度,然后做了面部识别,最后点击数据上报,几分钟的时间就完成了一次体温自动上报,整个过程步骤简单,无需再在隔离群里打字上报体温。同时这种方式也极大减少了隔离工作人员每天整理体温数据的工作量。
近期,全国多地升级为中高风险地区,疫情防控形势严峻复杂。为此霖汐科技团队连续熬夜奋战半个多月,终于上线了稳定版本的“智能身份识别测温方案”,上面的场景就是霖汐的新一代测温方案的体现,该方案利用人工智能、大数据技术实现,是目前市面上唯一超低成本实现身份自动识别和体温对应跟踪居家隔离方案,可以实现身份和体温一一对应的实时监测,且在后台通过数字化管控,自动识别、自动追踪、自动查找、自动预警。关键是成本极低,且方便易用,极大程度的解决了当前疫情防控中面临的产品生产紧张,工作人员工作强度大等各种问题,减少了隔离点及社区工作人员的工作量,提高了疫情防控的精准度和效率。

【缘起】
今年7月中旬Delta病毒在南京肆虐,之后传播速度之快令人咂舌,至今全国已有十几个省几十个市受到新一轮疫情影响,每天都能看到小区封锁、村庄封锁的消息,面对来势汹汹的变异新冠病毒,如何通过更有效的方式应对大规模的隔离社区和集中隔离点实时体温监测是当前面临的一个大问题!为此,霖汐科技深入研究了目前隔离人群体温采集的一些现状。调研后发现目前隔离人员体温检存在弊端:
常规测温需要工作人员上门测温,存在交叉感染风险
每日上门测温对工作人员来说工作强度很高,且效率不高
通过被隔离人主动报备体温+人工统计方式,数据采集效率低且容易出错
目前疫情形势严峻,面对这种多区域突入袭来的疫情形势,防控产品的产能面临巨大挑战
疫情常态化之下,对于隔离人员的信息统计、归类整理目前需要大量人工,并且容易出错
面对以上问题,在目前疫情常态化之下,如何在最短的时间内做好疫情布控,用最有效率最可接受的代价的来实现是目前大规模体温采集面临的问题呢?为此,霖汐科技迅速组织团队技术攻关,日夜奋斗半个月之后,终于研发出了稳定版本的“新一代超低成本智能身份识别测温方案”。

整套方案的操作流程非常简单,只需5步,就能完成体温数据自动实时上报,且和身份信息一一对应。
该方案可提供的硬件产能, 100000台+/天,管理系统可接入市面上主流电子测温仪,交付周期仅需1-2天,且手机端软件、后台管理程序在后台可根据管控需要持续升级。极大程度的的解决了市面上已有测温方案交期长、备货不足、产能受限的不能及时满足防疫需要的问题。
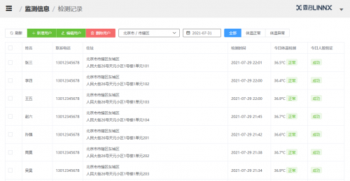
【测温方案后台】


后台的核心功能包括:
1.监测信息汇总及预警信息
2.各区域日监测人数及覆盖率、异常率
3.个人历史监测详情记录,管理粒度细化到人
【总结】
“新一代超低成本智能身份识别测温方案”,利用人工智能、大数据技术实现,是目前市面上唯一超低成本实现身份自动识别和体温对应跟踪居家隔离的方案,可以实现身份和体温一一对应的实时监测,且在后台通过数字化管控,自动识别、自动追踪、自动查找、自动预警,优势明显:
自动识别、自动追踪、自动查找、自动预警、自动分析,全流程数字化管控
该方案以家庭为单位监测,每家秩序一套“体温计(1-2个)+管理账户”即可,成本极低,如4口之家人均成本10元左右,人数越多人均成本越低
该方案系统可以适配市面上主流电子测温仪,如每日电子测温仪工厂可提供10万套设备,则每天可新增监测家庭10万家,则每天新增可监测人员至少30万人
远程数据实时采集及管理,防止交叉感染,可有效节省人力成本
通过人脸比对做身份核实,确保体温信息与人员信息一一对应
医用电子体温计(二类医疗器械证、CE认证),精准度±0.1℃
按行政划分进行多层级管理,区域管理分为区级、街道、隔离点(社区/酒店)
安装简单方便,隔离人员可自行安装
数据采集后通过加密技术存储统一平台管理,数据纳入政府监管体系
后台采用弹性云服务器,支持水平扩展,包括带宽、存储等,支持千万级数据存储,千万级用户
【关于霖汐】
武汉霖汐科技有限公司(LINNX)的企业使命是:
做一家持续创造社会价值的公司!
霖汐专注于智能化升级改造,核心管理团队由世界500强企业高管、海归博士组成,核心研发成员来自于百度、联想、浪潮、东软、东华大学等知名IT企业及高校,目前在武汉、广州、深圳、多伦多、济南设有分公司或办事处。霖汐团队在物联网、机器人、大数据方面有着丰富的技术及行业经验积累。公司拥有知识产权数十项,拥有国家中小型企业、中国留学生重点扶持企业、武汉科技创新领跑企业等多项荣誉。
霖汐秉承“心有霖汐,一点即通”的理念,通过“智能终端边缘计算 + 大数据管理后台”的方式,用人工智能和物联网技术,为各行各业客户提供弹性的智能化解决方案。
【霖汐第一现场】

2020年武汉抗疫展霖汐抗疫机器人

科技抗疫-新疆和田医院霖汐智能消毒机器人

第二届世界大健康博览会湖北省委书记应勇、省长王晓东等领导视察霖汐科技抗疫机器人

第二届世界大健康博览会机器人矩阵

国家电网营业网点智能业务咨询机器人

第七届世界军人运动会

十六届“中国光谷”国际光电子博览会暨论坛

天津希尔顿康莱德酒店智能接待机器人

2019第四届楚商大会

2019楚商回顾展

2020年全国科技抗疫活动周

2020年全球数字贸易大会

自然资源局信访接待机器人